Baca berita tanpa iklan. Gabung Gridoto.com+

Bocor! Muncul Paten Motor Konsep Buatan Suzuki, Bisa Jadi Hybrid atau Full Electric

Ruditya Yogi Wardana - Minggu, 5 Juli 2020 | 14:55 WIB
Gambar paten motor hybrid buatan Suzuki
Visordown
Gambar paten motor hybrid buatan Suzuki

GridOto.com - Pabrikan otomotif semakin gencar untuk membuat kendaraan bermotor listrik, seperti yang dilakukan Suzuki.

Belum lama ini, sebuah gambar paten yang memperlihatkan motor konsep buatan pabrikan berlogo 'S' ini bocor ke publik.

Dilansir dari Visordown.com, desain bodi motor pada paten ini digambar dengan bentuk dasar yang kaku, sehingga bisa saja tampilan saat sudah diproduksi bakal berbeda.

Namun ada hal yang terbilang menarik pada paten ini, karena motor ini nantinya dibuat agar bisa dibongkar pasang alias modular.

Baca Juga: Harley-Davidson Ajukan Paten Baru, Pakai Tekonologi Mirip Gimbal Kamera yang Bikin Motor Lebih Stabil

Motor pada paten tersebut bisa menggunakan baterai yang menjadi sumber daya untuk menggerakkan motor listrik dan dapat dipasangkan pada lokasi mesin bensin biasanya diletakkan.

Selain itu, pada paten ini juga diperlihatkan bahwa motor tersebut bisa diubah menjadi bermesin hybrid dengan cara memasangkan mesin bensin kecil.

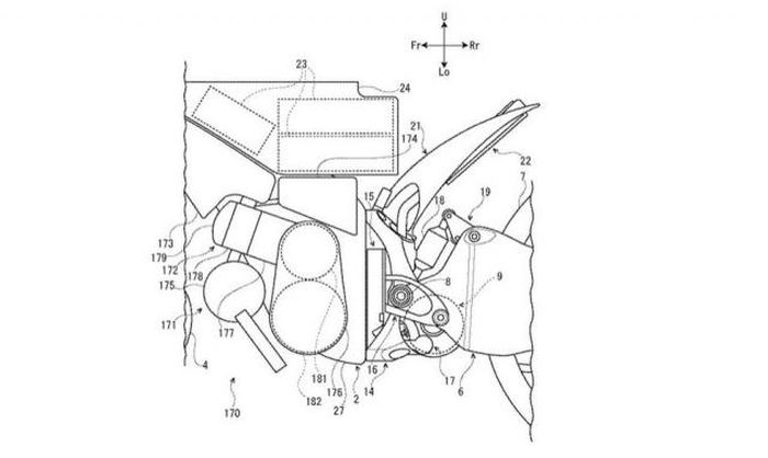
Konfigurasi mesin bensin yang akan meggerakkan motor listrik pada paten milik Suzuki.
Visordown
Konfigurasi mesin bensin yang akan meggerakkan motor listrik pada paten milik Suzuki.

Mesin bensin tersebut nantinya tidak berfungsi untuk memutar roda, namun hanya berperan sebagai generator guna menggerakkan motor listrik.

Sayangnya, belum diperlihatkan apakan ubahan dari motor listrik ke hybrid tersebut bisa dilakukan di rumah atau hanya pada jalur produksi.

Baca Juga: Harley-Davidson Kembangkan Teknologi Self-Balancing, Naik Moge Jadi Makin Mudah

Kendati demikian, paten tersebut tampaknya menunjukkan bahwa Suzuki serius untuk memasukkan desain motor konsep tersebut ke jalur produksi.

Namun, prototipe motor ini mungkin tidak akan diperkenalkan dalam waktu dekat ke publik, apalagi dengan dibatalkannya ajang pameran otomotif seperti Intermot, EICMA, NEC dan Tokyo Motorcycle Show.

Paten motor hybrid buatan Suzuki.
Visordown
Paten motor hybrid buatan Suzuki.

Editor : Fendi
Sumber : Visordown.com

Sobat bisa berlangganan Tabloid OTOMOTIF lewat www.gridstore.id.

Atau versi elektronik (e-Magz) yang dapat diakses secara online di : ebooks.gramedia.com, myedisi.com atau majalah.id



KOMENTAR

Berkomentarlah secara bijaksana dan bertanggung jawab. Komentar sepenuhnya menjadi tanggung jawab komentator seperti diatur dalam UU ITE
Laporkan Komentar
Terima kasih. Kami sudah menerima laporan Anda. Kami akan menghapus komentar yang bertentangan dengan Panduan Komunitas dan UU ITE.

YANG LAINNYA

loading
SELANJUTNYA INDEX BERITA
Close Ads X
yt-1 in left right search line play fb gp tw wa