Baca berita tanpa iklan. Gabung Gridoto.com+

Motor Listrik Baru BMW Motorrad, Pakai Penggerak Mirip Mesin Boxer, Desainnya Futuristik

Muhammad Farhan - Rabu, 29 Juni 2022 | 10:40 WIB
BMW tampilkan motor listrik baru bernama BMW Vision DC
BMW
BMW tampilkan motor listrik baru bernama BMW Vision DC

GridOto.com - BMW Motorrad tampilkan motor listrik baru, desain komponen elektrik sengaja dibikin melintang ala mesin boxer!

Nah salah satu ciri khas motor BMW adalah penggunaan mesin boxer, sebab posisinya menonjol keluar di kanan kiri dekat pijakan kaki pengendara.

Jika mesin kebanyakan punya posisi piston kedepan, keatas atau kebelakang, maka piston di mesin boxer menghadap kesamping.

Contoh motor BMW yang masih pakai mesin boxer saat ini adalah R NineT, R1250GS dan R18.

Kembali membahas motor listrik baru dari BMW, meski enggak lagi pakai mesin namun tampangnya sekilas seperti menggendong mesin boxer tersebut.

Bukan hanya sekedar tampil ala mesin boxer, komponen motor listriknya dibuat 'keluar' dari motor bukan tanpa alasan.

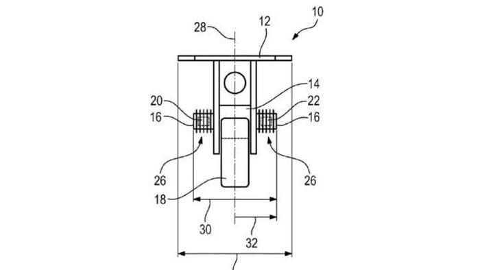
Gambar paten motor listrik BMW dengan desain ala mesin boxer
newmotor
Gambar paten motor listrik BMW dengan desain ala mesin boxer

Secara fisik, bagian yang menjorok keluar tersebut dibekali dengan sirip aluminium yang berfungsi untuk membantu pendinginan.

Sebab di bagian dalamnya, terdapat sistem pendingin untuk baterai dan motor penggerak yang digunakan.

Mirip seperti keutungan pakai mesin boxer, hasilnya proses pendinginan komponen listrik juga bisa jadi lebih maksimal dalam menangkap angin dari depan.

Editor : Dimas Pradopo

Sobat bisa berlangganan Tabloid OTOMOTIF lewat www.gridstore.id.

Atau versi elektronik (e-Magz) yang dapat diakses secara online di : ebooks.gramedia.com, myedisi.com atau majalah.id



KOMENTAR

Berkomentarlah secara bijaksana dan bertanggung jawab. Komentar sepenuhnya menjadi tanggung jawab komentator seperti diatur dalam UU ITE
Laporkan Komentar
Terima kasih. Kami sudah menerima laporan Anda. Kami akan menghapus komentar yang bertentangan dengan Panduan Komunitas dan UU ITE.

YANG LAINNYA

loading
SELANJUTNYA INDEX BERITA
Close Ads X
yt-1 in left right search line play fb gp tw wa