Baca berita tanpa iklan. Gabung Gridoto.com+

Harley-Davidson Ajukan Paten Baru, Pakai Tekonologi Mirip Gimbal Kamera yang Bikin Motor Lebih Stabil

Gayuh Satriyo Wibowo - Jumat, 12 Juni 2020 | 19:38 WIB
Paten baru Harley-Davidson
Cycleworld.com
Paten baru Harley-Davidson

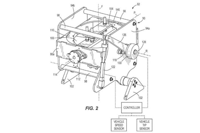
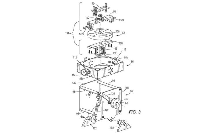
Namun gyroscope yang akan digunakan H-D berbeda dengan yang ada di motorsport zaman sekarang yang menggunakan gyro jenis microelectromechanical.

Sedangkan yang digunakan H-D lebih ke arah gyroscope tradisional atau mechanical yang isinya pemberat muter-muter gitu sob dan digerakan dengan motor listrik.

Paten gyroscope Harley-Davidson
Cycleworld.com
Paten gyroscope Harley-Davidson

Gaya dari putaran pemberat tersebutlah yang membuat motor tetap seimbang ketika miring atau menikung.

Putaran pemberat tersebut bisa mencapai 10.000-20.000 rpm yang ditanamkan pada gimbal, alat penyeimbang yang membuat sebuah benda dapat terjaga di sebuah axis.

Paten detil gyroscope Harley-Davidson
Cycleworld.com
Paten detil gyroscope Harley-Davidson

Ada linear actuator yang dikendalikan oleh sistem di mana mengatur putarannya sehingga gaya yang dihasilkan pas untuk menjaga kestabilan motor.

Jadi motor buatan H-D yang dikenal berat dan cukup tricky untuk kendalikan, jadi lebih mudah dikendarai dengan adanya alat ini.

Editor : Eka Budhiansyah
Sumber : cycleworld.com

Sobat bisa berlangganan Tabloid OTOMOTIF lewat www.gridstore.id.

Atau versi elektronik (e-Magz) yang dapat diakses secara online di : ebooks.gramedia.com, myedisi.com atau majalah.id



KOMENTAR

Berkomentarlah secara bijaksana dan bertanggung jawab. Komentar sepenuhnya menjadi tanggung jawab komentator seperti diatur dalam UU ITE
Laporkan Komentar
Terima kasih. Kami sudah menerima laporan Anda. Kami akan menghapus komentar yang bertentangan dengan Panduan Komunitas dan UU ITE.

YANG LAINNYA

loading
SELANJUTNYA INDEX BERITA
Close Ads X
yt-1 in left right search line play fb gp tw wa