Baca berita tanpa iklan. Gabung Gridoto.com+

Harley-Davidson Kembangkan Teknologi Self-Balancing, Naik Moge Jadi Makin Mudah

Ahyan Putra - Rabu, 10 Juni 2020 | 10:05 WIB
Harley-Davidson Kembangkan Teknologi Self-Balancing, Naik Moge Jadi Makin Mudah
Visordown.com
Harley-Davidson Kembangkan Teknologi Self-Balancing, Naik Moge Jadi Makin Mudah

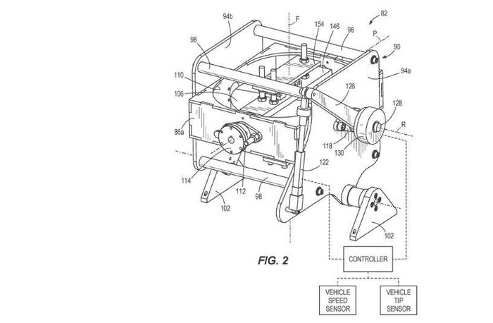
Cara kerjanya, saat motor mulai berjalan, teknologi ini mempersiapkan diri untuk menyeimbangkan motor pada kecepatan rendah.

Baca Juga: Paten Desain Toyota Yaris Facelift Bocor, Gril Lebih Besar Tampang Makin Sangar

Kemudian sistem akan mengunci dua sumbu gimbal dan menghubungkannya ke aktuator, sebuah peralatan mekanis untuk menggerakkan atau mengontrol sebuah mekanisme atau sistem.

Visordown.com

 

Aktuator ini dikendalikan oleh komputer, memungkinkannya bergerak ke kiri dan kanan.

Baca Juga: Nissan Kembangkan Jok Pendeteksi Dehidrasi, Ternyata Dehidrasi Bahaya Lho Buat Pengemudi

Gerakan ini dilakukan untuk melawan semua gerakan yang tidak diinginkan pada saat kecepatan rendah.

Dengan demikian, jika pengendara kehilangan stabilitas saat hendak berhenti, maka tidak akan terjadi masalah.

 

Editor : Fendi
Sumber : Visordown.com

Sobat bisa berlangganan Tabloid OTOMOTIF lewat www.gridstore.id.

Atau versi elektronik (e-Magz) yang dapat diakses secara online di : ebooks.gramedia.com, myedisi.com atau majalah.id



KOMENTAR

Berkomentarlah secara bijaksana dan bertanggung jawab. Komentar sepenuhnya menjadi tanggung jawab komentator seperti diatur dalam UU ITE
Laporkan Komentar
Terima kasih. Kami sudah menerima laporan Anda. Kami akan menghapus komentar yang bertentangan dengan Panduan Komunitas dan UU ITE.

YANG LAINNYA

loading
SELANJUTNYA INDEX BERITA
Close Ads X
yt-1 in left right search line play fb gp tw wa