Baca berita tanpa iklan. Gabung Gridoto.com+

Honda Rebel 500 Bakal Dapat Penyegaran Pakai Lampu LED, Jok Belakang Menyatu, Subframe Bisa Bongkar Pasang!

Ditta Aditya Pratama - Kamis, 17 Oktober 2019 | 17:49 WIB
Riding posture Honda Rebel 500 yang cruiser pasti berbeda dengan sport
Ditta Aditya Pratama / GridOto.com
Riding posture Honda Rebel 500 yang cruiser pasti berbeda dengan sport

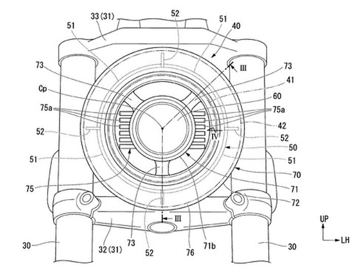
Yang unik kalau melihat desain subframe (frame belakang) yang bisa dibongkar pasang.

Bisa dilihat dalam gambar paten yang GridOto sertakan di bawah ada dua pilihan subframe yaitu yang biasa (A) dan subframe yang pakai behel belakang yang bisa dijadikan rak barang (B).

Pasti jadi lebih asyik lagi nih kalau mau turing boncengan sehingga ada pegangan buat boncenger.

Selain itu, behel belakang di subframe B bisa jadi tempat barang tambahan sehingga pundak enggak pegal karena harus menggendong tas.

Subframe Honda Rebel 500 2020 yang knockdown
http://kojintekibikematome.blog.jp
Subframe Honda Rebel 500 2020 yang knockdown

Lalu terlihat juga adanya ubahan di bagian lampu depan yang sudah menggunakan LED.

Desainnya mirip-mirip dengan CB250R, CB650R, dan CB1000R terbaru yang bergaya neo-classic.

Lalu instrument cluster pun mendapat pembaruan dari desain dan posisi yang terlihat lebih maju alias enggak lagi berada di atas riser stang.

Paten lampu depan Honda Rebel 500 2020
http://kojintekibikematome.blog.jp
Paten lampu depan Honda Rebel 500 2020

Sektor mesin sih belum ada kabar apakah akan diberi update atau tidak.

Jika masih sama dengan sebelumnya, Honda Rebel 500 akan tetap dibekali mesin 500 cc dua silinder yang sama dengan saudara-saudaranya yaitu CBR500, CB500R, dan CB500X.

Sedangkan untuk Rebel 250/300, tetap pakai basis mesin CB250R/CB300R.

Kayaknya menarik nih kalau Honda Rebel 250 ikutan dijual di Indonesia. Ya nggak sih?

Instrument cluster Honda Rebel 2020 yang pindah posisi ke depan setang
http://kojintekibikematome.blog.jp
Instrument cluster Honda Rebel 2020 yang pindah posisi ke depan setang

Sobat bisa berlangganan Tabloid OTOMOTIF lewat www.gridstore.id.

Atau versi elektronik (e-Magz) yang dapat diakses secara online di : ebooks.gramedia.com, myedisi.com atau majalah.id



KOMENTAR

Berkomentarlah secara bijaksana dan bertanggung jawab. Komentar sepenuhnya menjadi tanggung jawab komentator seperti diatur dalam UU ITE
Laporkan Komentar
Terima kasih. Kami sudah menerima laporan Anda. Kami akan menghapus komentar yang bertentangan dengan Panduan Komunitas dan UU ITE.

YANG LAINNYA

loading
SELANJUTNYA INDEX BERITA
Close Ads X
yt-1 in left right search line play fb gp tw wa