Baca berita tanpa iklan. Gabung Gridoto.com+

Honda Patenkan Teknologi Airbag Eksternal Pada Mobil, Begini Cara Kerjanya...

Dia Saputra - Rabu, 22 April 2020 | 11:47 WIB
Blue print airbag eksternal milik Honda
worldwide.espacenet.com
Blue print airbag eksternal milik Honda

GridOto.com - Honda Motor Company baru saja mendaftakan paten airbag eksternal untuk mendukung keselamatan pada mobilnya.

Panten tersebut diketahi GridOto dari web European Patent Office worldwide.espacenet.com beberapa waktu lalu.

Yang mana sistem keselamatan ini adalah teknologi baru bagi mobil Honda pada tahun 2020.

Melansir Rideapart.com, teknologi ini bertujuan untuk mengurangi cedera pada pengendara motor atau pejalan kaki yang tidak sengaja tertabrak oleh pengemudi mobil.

Baca Juga: Gunakan Honda CRF150L, Para Polwan di Tulungagung Bagikan Sembako Sebagai Peringatan Hari Kartini

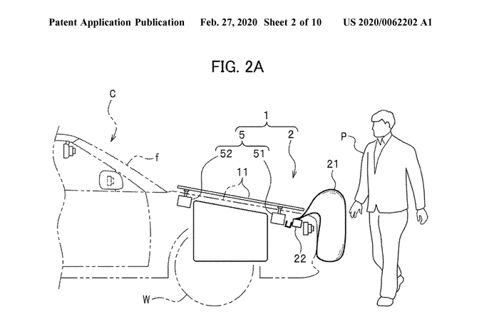
Pada blue print yang tersebar saat ini, diketahui bahwa akan banyak sensor pada airbag eksternal miliki Honda.

Uniknya lagi airbag eksternal Honda akan diletakan pada bagian depan kap mesin mobil.

Hal tersebut dilakukan karenakan pada umumnya pejalan kaki yang tertabrak akan berada di sekitaran kap mesin.

Honda Motor Company, Ltd baru saja mendaftakan paten airbag eksternal.
worldwide.espacenet.com
Honda Motor Company, Ltd baru saja mendaftakan paten airbag eksternal.

Meski baru ditujukan untuk pengendara motor dan pejalan kaki, tidak menutup kemungkinan jika Honda akan mengembangkan airbag eksternal untuk anak kecil dan binatang peliharaan yang tertabrak.

Biar tidak penasaran, langsung saja lihat blue print airbag eksternal milik Honda berikut.

Honda akan mengembangkan airbag eksternal untuk anak kecil dan binatang peliharaan yang tertabrak.
worldwide.espacenet.com
Honda akan mengembangkan airbag eksternal untuk anak kecil dan binatang peliharaan yang tertabrak.

Airbag eksternal Honda jika sudah mengembang.
worldwide.espacenet.com
Airbag eksternal Honda jika sudah mengembang.

Editor : Ditta Aditya Pratama
Sumber : Rideapart.com,worldwide.espacenet.com

Sobat bisa berlangganan Tabloid OTOMOTIF lewat www.gridstore.id.

Atau versi elektronik (e-Magz) yang dapat diakses secara online di : ebooks.gramedia.com, myedisi.com atau majalah.id



KOMENTAR

Berkomentarlah secara bijaksana dan bertanggung jawab. Komentar sepenuhnya menjadi tanggung jawab komentator seperti diatur dalam UU ITE
Laporkan Komentar
Terima kasih. Kami sudah menerima laporan Anda. Kami akan menghapus komentar yang bertentangan dengan Panduan Komunitas dan UU ITE.

YANG LAINNYA

loading
SELANJUTNYA INDEX BERITA
Close Ads X
yt-1 in left right search line play fb gp tw wa