Baca berita tanpa iklan. Gabung Gridoto.com+

Toyota Isi Paten Mobil Terbang, Masa Depan Sudah di Depan Mata

Radityo Kuswihatmo - Jumat, 28 September 2018 | 16:38 WIB
Ilustrasi logo Toyota
Jpinfo.com
Ilustrasi logo Toyota

GridOto.com - Toyota baru saja diketahui memberikan gebrakan di dunia otomotif dan juga penerbangan dalam satu waktu.

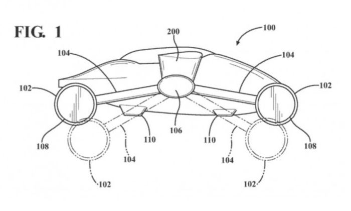
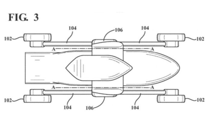
Sebuah paten di Amerika Serikat yang baru saja dipublikasikan memperlihatkan pabrikan Jepang ini mematenkan desain dasar dari mobil terbang.

Salah satu desain yang terlihat dari paten itu adalah Toyota memakai konsep mirip drone.

Dengan ban yang bisa melipat dan berganti menjadi baling-baling untuk terbang.

Paten mobil terbang Toyota
Motorauthority.com

(BACA JUGA: Pemerintah Jerman Dukung Mobil Terbang Sepenuhnya, Siap Menuju Masa Depan Nih!)

Paten ini sebenarnya bukan hal baru lagi karena sudah diisi oleh Toyota sejak 2017 namun baru saja diketahui sekarang.

Dari paten itu, terlihat ban bisa menekuk ke atas untuk berganti menjadi mode terbang.

Tidak diketahui apakah paten ini akan benar-benar direalisasikan dalam waktu dekat atau tidak.

Tapi dari paten yang digarap serius ini membuktikan di masa depan nanti, mobil terbang bukanlah sebuah mimpi belaka.

Paten mobil terbang Toyota
Motorauthority.com
Paten mobil terbang Toyota

Editor : Fendi
Sumber : News18.com

Sobat bisa berlangganan Tabloid OTOMOTIF lewat www.gridstore.id.

Atau versi elektronik (e-Magz) yang dapat diakses secara online di : ebooks.gramedia.com, myedisi.com atau majalah.id



KOMENTAR

Berkomentarlah secara bijaksana dan bertanggung jawab. Komentar sepenuhnya menjadi tanggung jawab komentator seperti diatur dalam UU ITE
Laporkan Komentar
Terima kasih. Kami sudah menerima laporan Anda. Kami akan menghapus komentar yang bertentangan dengan Panduan Komunitas dan UU ITE.

YANG LAINNYA

loading
SELANJUTNYA INDEX BERITA
Close Ads X
yt-1 in left right search line play fb gp tw wa